提交咨询信息
咨询邮箱:nesfovalve@163.com
我们收到后将会在24小时内回复您
全站搜索
ADP系列可视调节压差旁通阀是自力式流量控制阀,用于控制经过某一设备的最小流量,如小型燃气锅炉,或控制一中央供热系统的压差。
ADP系列可视调节压差旁通阀为电动压差控制阀替代产品。其优点是无需外动力,靠系统本身压力工作,有效的提高了运动安全系数,比传统电动压差控制阀更为安全可靠,解决了电动压差控制阀对电的信赖和电路出现问题造成机组损伤的几率,并且自力式自身压差控制阀便于安装,节省费用。
| 产品型号 | ADP |
|---|---|
| 阀体材质 | 黄铜 |
| 公称压力 | ≤1.0Mpa |
| 适用介质 | 水、防冻液、导热液等 |
| 适用温度 | ≤120℃ |
| 可选调节压力 | 0.2-1bar/0.5-3bar |

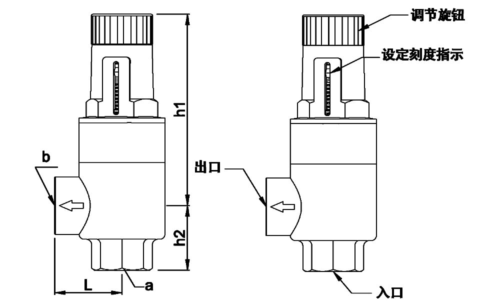
| 通径 | a | b | h1 | h2 | H |
|---|---|---|---|---|---|
| DN15 | 1/2 | 1/2 | 109 | 36 | 38 |
| DN20 | 3/4 | 3/4 | 109 | 36 | 38 |
| DN25 | 1 | 1 | 109 | 36 | 38 |
| DN32 | 1-1/4 | 1-1/4 | 113 | 42 | 52 |
| DN40 | 1-1/2 | 1-1/2 | 113 | 45 | 56 |
| DN50 | 2 | 2 | 119 | 51 | 56 |
第一步:发送采购清单
请将采购清单发邮件到 nesfovalve@163.com,电话/微信:+86-13382208259,WhatsApp:+852-90445535。
第二步:提供报价和选型
收到客户采购清单后,我公司将为客户提供阀门报价「价格清单」和选型「阀门型号」服务。
第三步:商定具体事宜
具体事宜商定:交货期、特殊要求等细节确认。
立即完善信息,为您提供专属服务!